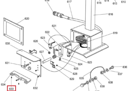
MT-296/633 Винт крепежный
MT-296/633 Винт крепежный
Оборудование Для Автосервиса

108811, Москва, 22-ой км. Киевского шоссе, домовладение 4, Корпус Е, 9Е.

Артикул22713
0
Материал - сталь. Винт предназначен для крепления детали. Используется на модели MT-296.